Главная | Категории товаров | Запасные части для элеваторов и хпп

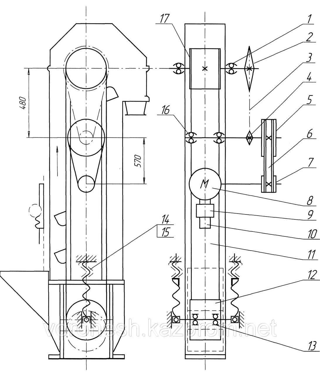
Кинематическая схема

№ пози-ции

Обозначение

Наименование

Кол.

шт.

1

 

11207

ГОСТ 28428-90

2

2

Н 022.030-30

Звездочка сварнаяZ=56n=94об/мин

1

3

 

Цепь ПР-19.05-3180

ГОСТ 13568-75

L:=1638,3мм

1

4

Н 116.481

Звездочка Z=12 n=438об/мин

1

5

Н 209.017А

(Н 116.495)

 

O=400 мм п=438об/мин

1

6

 

РеменьВ(Б)=2000IV

ГОСТ 1284.1-89

1

7

Н 209.061-01

ШкивO=125 мм

1

8

4А90L4УПУЗ

Двигатель

N=2,2 кВт n=1500об/мин

1

9

ОВБ 1026-01

Фиксатор

1

10

НВ 24.010

Рейка

1

11

НВ 08.000

Лента с ковшами

L=13740-33720мм

1

12

НВ 01.050

Барабан

O=500 мм n=94об/мин

1

13

 

Подшипник206 ГОСТ 8338-75

2

14

НС 01.070-01

Штанга

2

15

НВ 01.607

Гайка

2

16

 

Подшипник11205

ГОСТ 8545-75

2

17

НВ 02.050

Барабан

O=500 мм n=94об/мин

1

 

ТОО "Агрофаворит" предлагает купить "Кинематическая схема" по самой выгодной цене в Казахстане.
На складах нашей компании в широком ассортименте представлены запчасти из категории "Запасные части для элеваторов и хпп". Как правило, все сельхоззапчасти обычно всегда в наличии, поэтому купить "Кинематическая схема" не составит ни каких проблем - жмите кнопку "Быстрый заказ" или позвоните нам по контактным телефонам и наши менеджеры помогут оформить заказ и, при необходимости, оформят доставку до вашего города.

ТОО АгроФаворит" производит прямые поставки продукции и запчастей с завода изготовителя и реализует "Кинематическая схема" по самым низким ценам.
Индивидуальный подход к каждому клиенту, бесплатные косультации.