Показать меню
Скрыть меню
ТОО АГРОФАВОРИТ
Категории товаров
Новости
ТОО АГРОФАВОРИТ
Оплата и доставка
Контакты
Запасные части для элеваторов и хпп
Запчасти для нории
Звездочка Z-44 шаг19
27 000 тг.
Звездочка контрпривода нории Z-56, t=19.05, D 35
23 500 тг.
Трубы норийные (секция 2 м) производительностью 20,40,50,100,175,200 тн/ч
Подробно
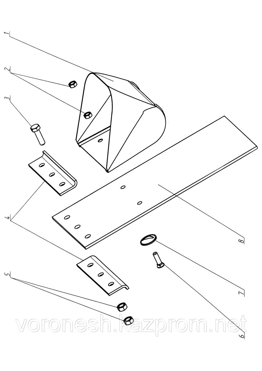
Ковши норийные
от 950 тг.
Ковш полимерный для нории КН.050.002
750 тг.
Шайба норийная М10
3500 тг
Болт норийный М-10
2 335 тг.
Башмак нории 100
Подробно
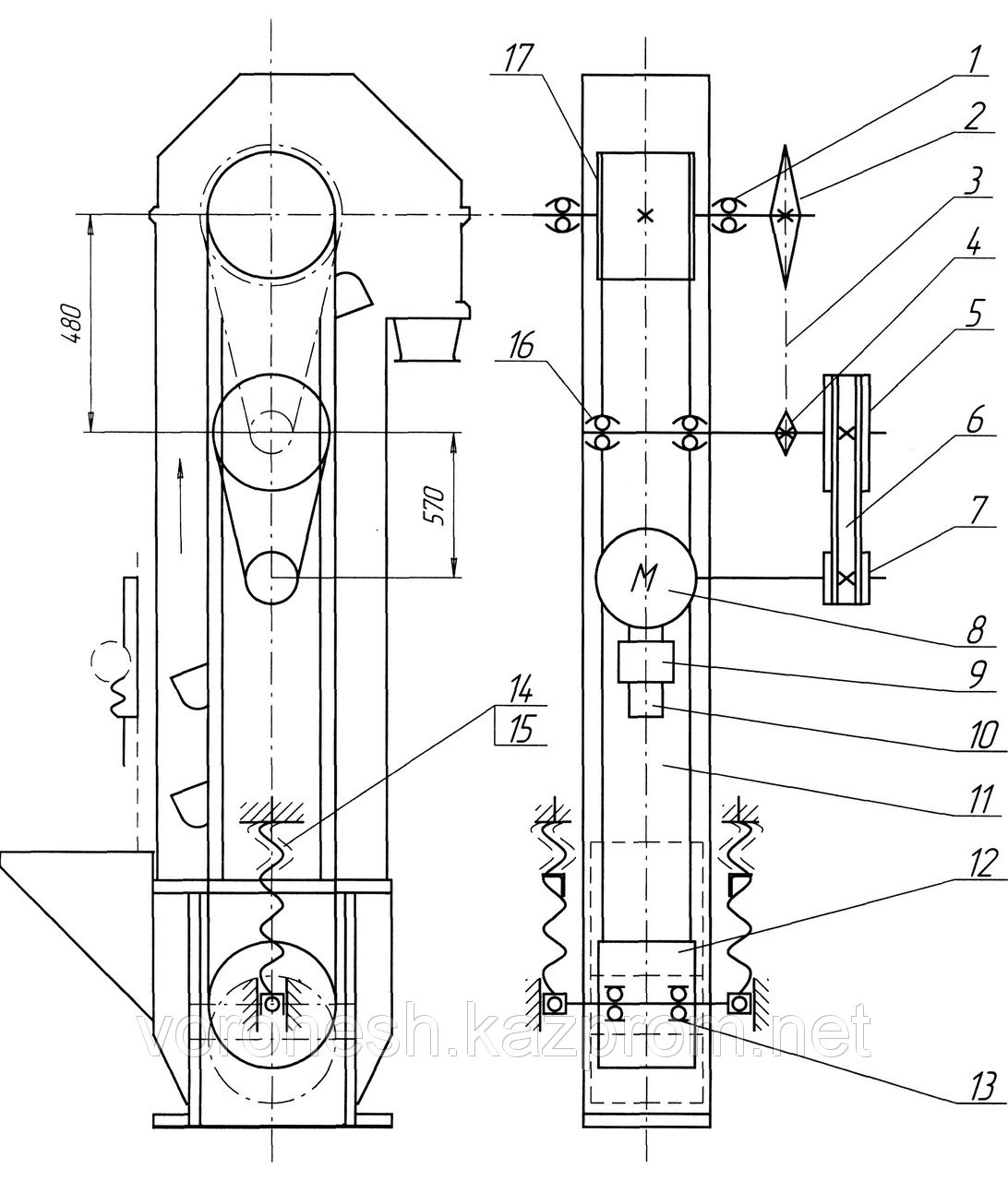
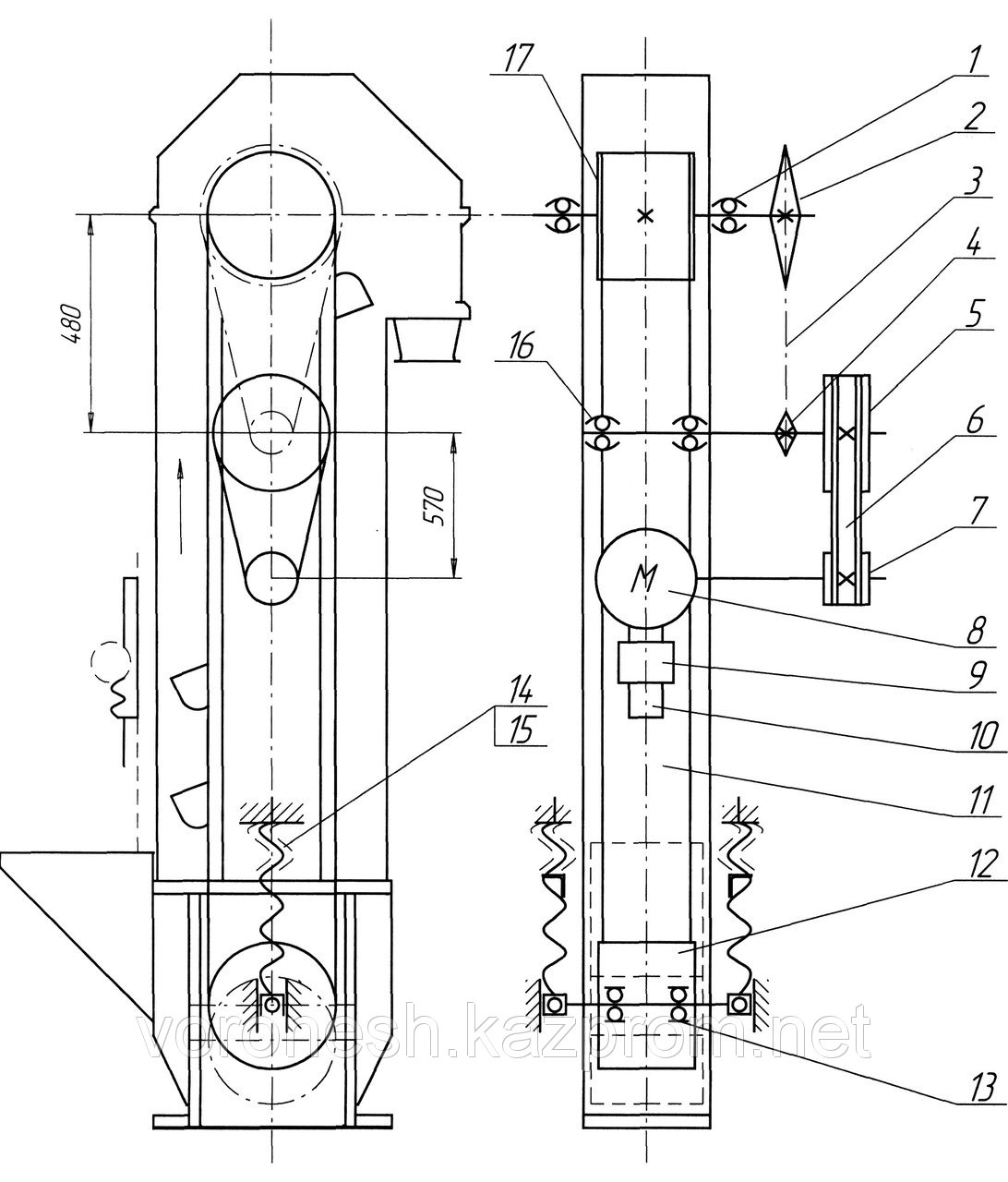
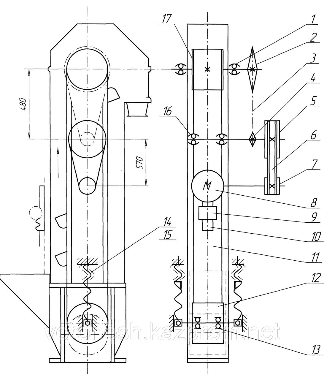
Кинематическая схема
Подробно
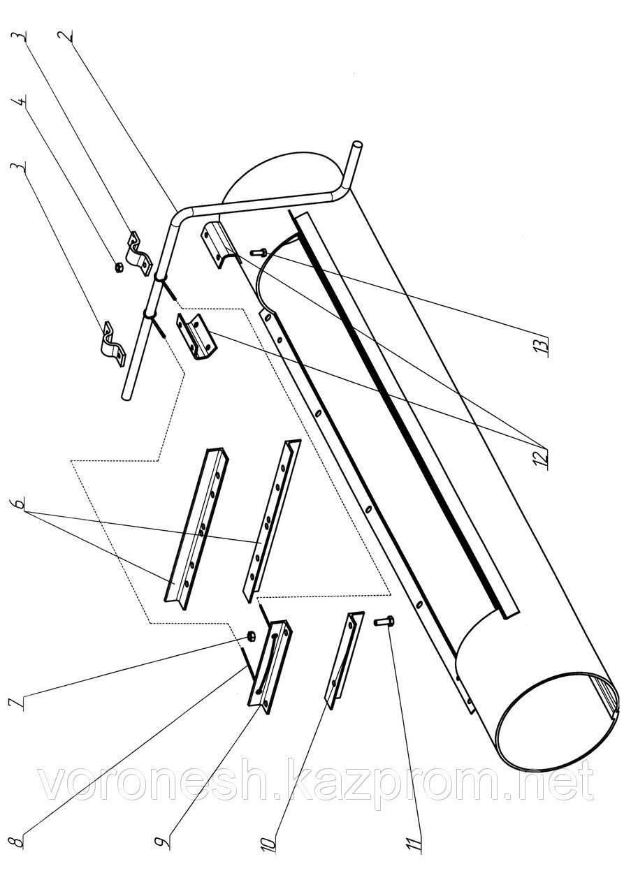
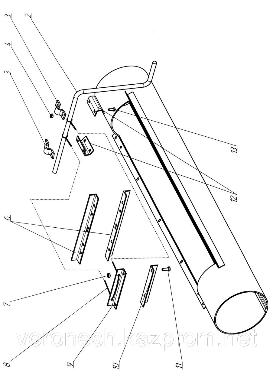
Н 116.350 -04 Тяга
Подробно
Н 116.580-02 Контр привод
Подробно
НВ 24.000. Устройство для открывания и закрывания заслонки
Подробно
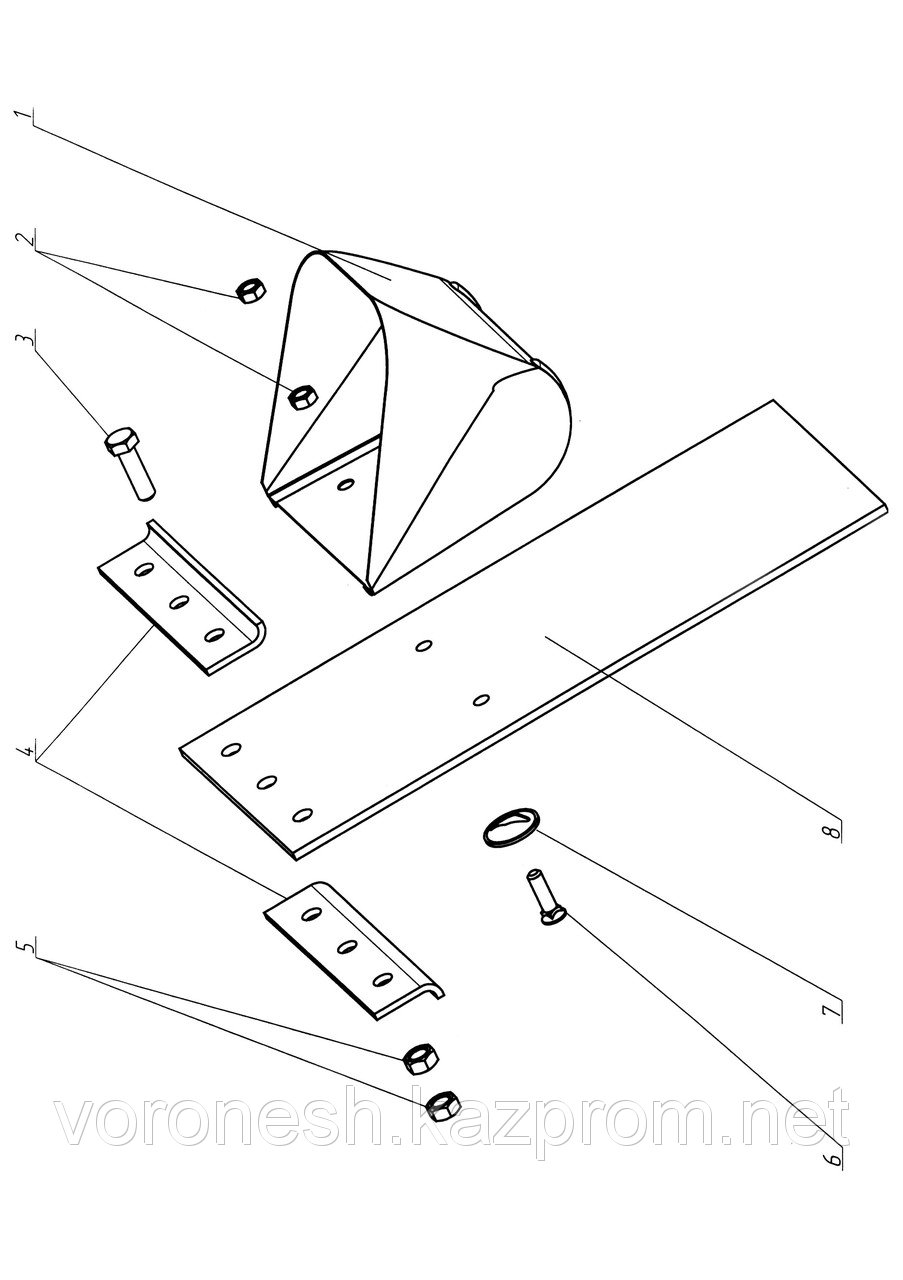
НВ 14.000. Бункер
Подробно
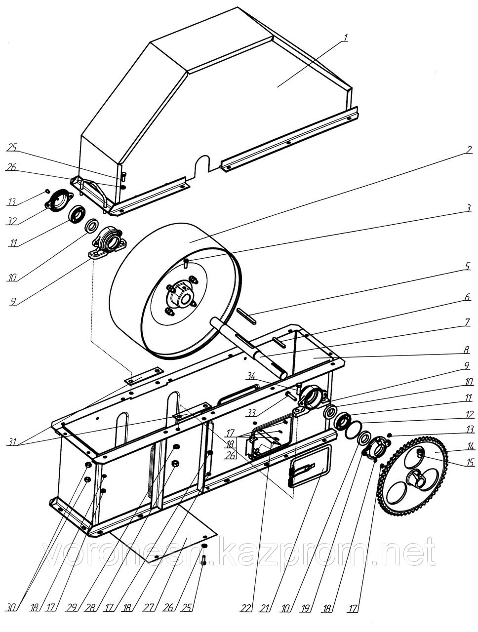
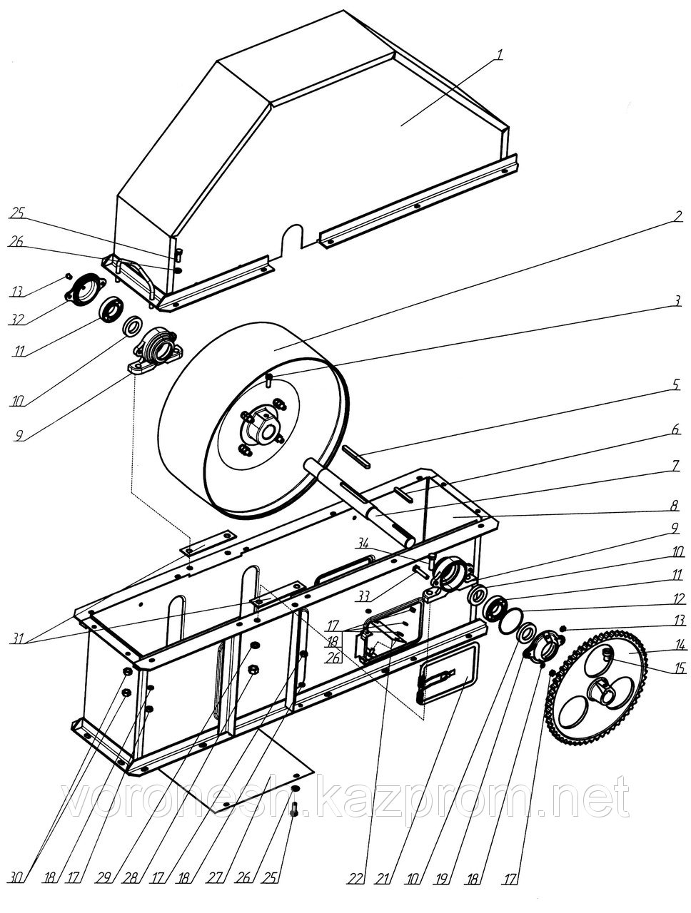
НВ 11.000.Секция обслуживания
Подробно
НВ 15.000. Приспособление натяжное
Подробно
НВ 08.000. Лента с ковшами
Подробно
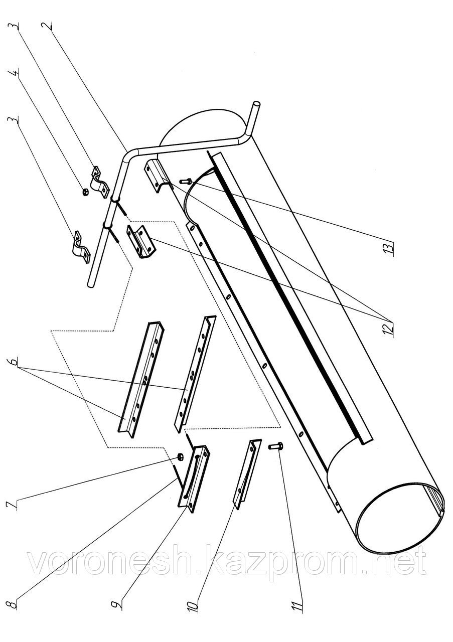
НВ 05.000 Ограждение
Подробно
НВ 01.000, Головка
Подробно
НВ 02.000.Головка верхняя
Подробно
ЗАКАЗАТЬ
ЗВОНОК!
Заполните форму и менеджер
нашей компании свяжется с вами!
Ваше имя:
Ваш e-mail:
Ваш телефон: